
Mise à l'arrêt du brûleur du four
Pour éteindre la flamme, tournez la manette sur la
position Arrêt .
Utilisation du gril
La température du gril ne peut pas être
réglée. Pour obtenir une température
plus basse ou un temps de cuisson plus
long, la plaque du gril doit être abaissée
pour l'éloigner de la flamme.
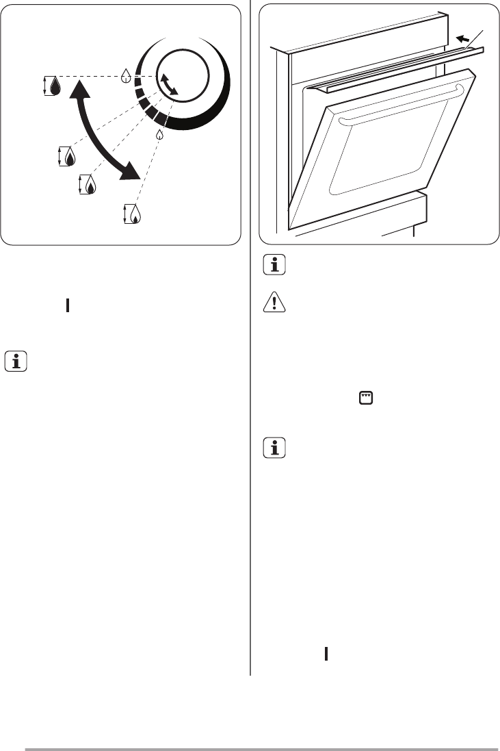
Avant d'utiliser le gril, placez le déflecteur du gril (A) au-
dessus de la porte. Assurez-vous que les deux prises
s'engagent correctement dans les orifices situés dans la
partie supérieure du cadre avant de la cavité du four
(sous le bandeau de commande).
Ne placez pas la viande directement sur
la plaque ou la lèchefrite.
ATTENTION! Ne placez pas la viande
sur le niveau le plus haut. Risque
d'incendie.
1. Ouvrez la porte du four.
2. Approchez une flamme des orifices du brûleur du
gril.
3. Tournez la manette de commande du four à gaz
sur la position Gril . Maintenez la manette
enfoncée pendant 15 secondes environ. Ne la
relâchez pas avant l'apparition de la flamme.
Si le gril ne s'allume pas, ou s'il
s'éteint accidentellement, relâchez
la manette de commande du four et
tournez-la sur la position Arrêt.
Ouvrez la porte du four. Attendez
une minute, puis essayez à
nouveau d'allumer le gril.
4. Préchauffez le gril pendant 5 à 10 minutes.
5. Placez la viande au niveau 3 du four.
6. Placez un plateau de cuisson ou le plat à rôtir en
dessous, au niveau 2, pour récupérer les jus.
7. Laissez la porte légèrement ouverte.
Extinction du brûleur du gril
Pour éteindre la flamme, tournez la manette sur la
position Arrêt .
12
Komentáře k této Příručce